Moskva, Moscow, Russian Federation
Moscow, Russian Federation
UDC 69.01
Three-layer wall panels with a thermal insulation layer made of low thermal conductivity concrete are an alternative solution to single-layer structures made of lightweight concrete and three-layer ones with a thermal insulation layer of effective insulation materials, such as polystyrene foam or mineral wool. For them, the basic principles of designing single-layer lightweight concrete panels are retained, including their reinforcement with spatial frames. These wall panels can be used as load-bearing walls of residential buildings, as well as self-supporting and curtain walls of public and industrial buildings. Tests of full-scale wall panel structures were carried out, which revealed and confirmed the reliability of the monolithic connection of layers between different concrete layers at various stages of the structure’s operation, up to destruction.
three-layer wall panels, experimental studies, strength, crack resistance, deformation
Введение
Совершенствование ограждающих конструкций зданий различного назначения связано с разработкой и применением как новых строительных материалов, так и способах их конструирования их сечений [1,2]. Исследования силового сопротивления новых и усовершенствованных таких конструкций проводятся на основе теоретических посылок как численными методами, так и экспериментальными [3,4,5]. Для трехслойных железобетонных конструкций с монолитно связанными бетонными слоями разработаны методы расчета по прочности, трещиностойкости и деформациям в широком диапазоне соотношения физико-механических характеристик бетонных слоев при различных способах и видах нагружения. Экспериментальные исследования носят преимущественно фрагментарный характер и относятся в большей части к лабораторным образцам, устанавливающим монолитность связи бетонных слоев различной прочности, и моделям, имитирующим напряженно-деформируемое состояние реальных конструкций [6,7,8,9]. Несмотря на то, что все проведенные экспериментальные исследования подтверждают теоретические подходы и методы расчета многослойных железобетонных конструкций с монолитной связью слоев, необходимо иметь верифицированные результаты экспериментальных исследований с расчетными, полученными на основе разработанных моделей.
Методы
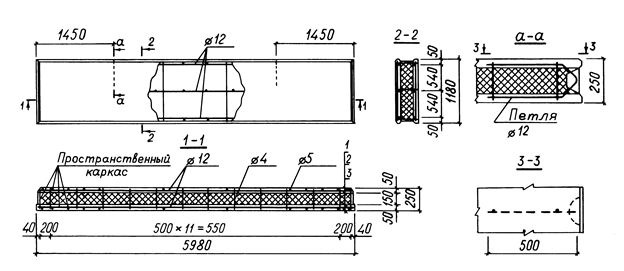
Экспериментальные конструкции стеновых панелей запроектированы со средним слоем из бетона класса по прочности на сжатие В0,75. В наружных слоях конструкций предусмотрено применение конструкционных бетонов классов по прочности на сжатие В12,5 и В25. Толщины наружных слоев приняты с учетом действующих нагрузок, а также размещения в них рабочей арматуры и обеспечения ее защиты, а теплоизоляционных - по теплотехническому расчету (рис.1). При этом для опытной проверки использованы конструкции наименьшей толщины с целью оценки их несущей способности, трещиностойкости и деформативности.

Рис.1. Конструкция экспериментальной панели
Для экспериментальных исследований по рабочим чертежам изготовлены натурные конструкции стеновых панелей горизонтальной разрезки. Опытные конструкции изготовлены в количестве двух образцов одного наименования и предназначены для испытаний в соответствии с реальной схемой их работы в здании.
Последовательность изготовления панелей включает следующие этапы: в подготовленные формы укладывают пространственный арматурный каркас, затем конструкционный бетон нижнего слоя и бетон низкой прочности среднего слоя, уплотняя каждый слой на вибростоле в течение 30...40 сек. , далее укладывают конструкционный бетон верхнего слоя с уплотнением на вибростоле не более 20 сек. для предотвращения перемешивания его со средним слоем. Перерывы между укладкой смежных слоев составляли не более 20 мин., что соответствует периоду возможного образования монолитной связи между слоями. После укладки в формы и 5-часовой выдержки панели пропаривают в камерах тепловой обработки по режиму: подъем температуры - 3, изотермическая выдержка при температуре 600С -10 и остывание - 2 часа.
После изготовления и набора прочности стеновых панелей определяли их фактические прочностные и деформативные характеристики материалов с использованием одновременно изготовленных бетонных кубов и призм для обоих видов бетонов и арматурных стержней одной и той же партии (табл.1).
Таблица 1
Проектные и фактические прочностные и деформативные характеристики бетонов слоев и арматуры опытных панелей
|
Шифр панели |
Бетон наружных слоев |
Бетон среднего слоя |
Рабочая арматура |
|||||||||
|
проектный класс по прочности на сжатие |
фактические характеристики, МПа |
проектный класс по прочности на сжатие |
фактические характеристики, МПа |
диа-метр, мм и класс |
As, см |
sy, МПа |
su, МПа |
|||||
|
R |
Rb |
Eb×10-3 |
R |
Rb |
Eb×10-3 |
|||||||
|
ПС-1 |
В15 |
29,6 |
- |
28,0 |
ВО,75 |
1,0 |
- |
0,7 |
12 мм |
|
410 |
651 |
|
ПС-2 |
В15 |
21,1 |
- |
19,1 |
ВО,75 |
0,64 |
- |
- |
12 мм |
|
410 |
651 |
|
ПС--3 |
В25 |
- |
28,5 |
28,7 |
ВО,35 |
- |
0,46 |
0,36 |
8 мм |
0,495 |
436 |
- |
|
ПС-4 |
В25 |
- |
28,5 |
28,7 |
ВО,35 |
- |
0,46 |
0,36 |
8 мм |
0,495 |
436 |
- |
Опытные образцы трехслойных стеновых панелей испытаны в соответствии с проектом при одновременном нагружении вертикальной и горизонтальной (имитация ветровой) нагрузками в вертикальном положении (рис.2). Для испытаний выбраны панели, имеющие наибольший из номенклатуры расчетный пролет и предназначенные для эксплуатации под нагрузками наибольшей величины.

Рис. 2. Испытание экспериментальной панели
Панели испытаны на стенде, обеспечивающем независимую передачу вертикальной и горизонтальной нагрузок. Вертикальная нагрузка создавалась с помощью домкрата, горизонтальная - естественными грузами. Равномерно распределенная нагрузка на панель - вертикальная (от собственного веса испытываемой и вышележащей панели) и горизонтальная (от ветра) заменялись соответственно четырьмя и восемью сосредоточенными силами, приложенными симметрично на расстояниях, равных четверти пролета. Вертикальную нагрузку передавали по верхней грани, а горизонтальную по боковой в двух уровнях с расстоянием между ними 100 см, а по длине панелей - как и вертикальную. Грузы в виде 20 кг гирь располагались на 4-х платформах, нагрузка от которых передавалась на панель с помощью тросов и распределительных балок. Домкрат с помощью специального устройства при испытании перемещали вслед за панелью при ее прогибе для исключения горизонтальной составляющей от нагрузки при наклоне тяжей, передающих вертикальную нагрузку. Для обеспечения свободного поворота панелей при нагружении все опоры выполняли подвижными шаровыми.
Результаты исследования
Большинство опытных конструкций было испытано до разрушения. Некоторые конструкции испытывали до нагрузок, близких к разрушающим, в основном, по причине предотвращения хрупкого разрушения в приопорных зонах по наклонному сечению при дальнейшем увеличении нагрузки после достижения рабочей арматурой предела текучести и из-за достижения арматурой, не имеющей площадки текучести, временного сопротивления разрыву. Все испытанные на одновременное воздействие горизонтальных и вертикальных нагрузок стеновые панели разрушались в средней части пролета вследствие достижения напряжений в рабочей растянутой арматуре предела текучести или превышения условного предела текучести для арматуры, не имеющей площадки текучести. Разрушение сопровождалось значительными горизонтальными перемещениями и резким увеличением ширины раскрытия трещин. Ни в одной из испытанных конструкций вплоть до разрушения трещины по контакту слоев и взаимное их смещение обнаружены не были.
Основные результаты испытаний опытных трехслойных железобетонных панелей с монолитной связью слоев в сравнении с теоретическими значениями приведены в табл.2. Разрушающие нагрузки при испытаниях всех опытных конструкций оказались близки теоретическим, определенным с учетом фактических прочностных характеристик бетона и арматуры.
Таблица 2
Результаты испытаний трехслойных железобетонных стеновых панелей с монолитной связью слоев
|
Шифр панели |
Разрушающая нагрузка (%) |
Нагрузка трещино- образования (%) |
Прогиб при нормативной нагрузке, см (%) |
||||
|
опытная |
теоретическая |
опытная |
теоретическая |
фактический |
теоретический |
предельно допустимый |
|
|
ПС-1 |
45,6 (108) |
43,6 (100) |
27,6 (100) |
41,1 (149) |
0,16 (100) |
0,14 (89) |
2,9 (1813) |
|
ПС-2* |
- |
- |
21,3 (100) |
41,1 (193) |
0,15 (100) |
0,14 (93) |
2,9 (1933) |
|
ПС-3 |
45,2 (100) |
54,6 (121) |
17,5 (100) |
14,4 (82) |
0,35 (100) |
0,34 (97) |
1,11 (317) |
|
ПС-4 |
45,2 (100) |
44,5 (98) |
20,0 (100) |
14,4 (72) |
0,33 (100) |
0,34 (103) |
1,11 (336) |
Примечания:
1. Для стеновых панелей, испытанных при одновременном действии горизонтальных и вертикальных нагрузок, приведены значения горизонтальных составляющих в кН и соответствующие им прогибы.
2. Знаком "*" обозначены панели, испытанные до нагрузок близких к разрушающим, но не доведенные до физического разрушения.
Первые нормальные трещины во всех испытанных конструкциях появились после достижения нормативных нагрузок - при нагрузках, незначительно меньших расчетных, либо даже превышающих их. В этой связи оценка по раскрытию трещин не требуется - трещиностойкость конструкции обеспечена. По расчету с учетом фактических прочностных и деформативных характеристик бетона и арматуры величины нагрузок образования трещин также превышают нормативные нагрузки. Но в отдельных опытных конструкциях (панель ПС-1 и ПС-3, ПС-4) фактическая прочность на растяжение бетонов наружных слоев оказалась выше проектной. В этой связи, очевидно, в реальных конструкциях трещины могут образовываться при нагрузках меньше нормативных. При проектных характеристиках материалов для панели ПС-1 теоретическая величина нагрузки трещинообразования на 14,7% ниже нормативной. Однако ширина раскрытия трещин при этом по расчету составляет 0,2 мм и не превышает допустимых величин. На основании экспериментальных результатов для избежания существенного раскрытия трещин при нормативной нагрузке для наиболее нагруженных панелей нижнего ряда рекомендуется в реальных конструкциях увеличение толщины наружного ограждающего слоя от 5 до 6,5 см.
Реализация разработанного алгоритма расчета в практической деятельности при проектировании стеновых панелей, которые в эксплуатационной стадии испытывают силовые горизонтальные и вертикальные нагрузки, ориентирована на использование современных программных комплексов, которые значительно сокращают трудозатраты инженера при возможности повысить точность расчета за счет учета сравнительно малых действующих нагрузок. В подобных случаях они не учитывались или учитывались введением коэффициентов запаса прочности.
Расчет по образованию трещин трехслойных железобетонных стеновых панелей при одновременном действии горизонтальных и вертикальных нагрузок с многорядным расположением арматуры по сечению производился, исходя из условий:
$M_x \leq M_{crc,x}$
$M_y<M_{crc,y}$ (1)
где Mcrc,x и M_{crc,y} – моменты, воспринимаемые сечением, нормальным к продольной оси элемента при образовании трещин в направлении горизонтальных и вертикальных осей х и y.
$M_{crc,x}=N_b(X_{bt}-x_b+ \sum_{i=1}^n N_{si}(x_{si}-x{bt})+N(x_{bt}-x_N)$;
$M_{crc,y}=N_b(y_{bt}-x_b+ \sum_{i=1}^n N_{si}(y_{si}-y{bt})+N(y_{bt}-y_N)$
где xN и yN – координаты точки приложения нормального усилия усадки относительно координатных осей х и y.
Для всех испытанных конструкций на всем диапазоне нагружения не было отмечено появление наклонных трещин. Это подтверждается и расчетом. В отдельных случаях при испытании панелей горизонтальной разрезки наклонные трещины в среднем слое образовывались. Однако, это происходило при нагрузке, превышающей нормативную до 30%. Но и в этом случае до конца испытания, когда нагрузка превышала нормативную в 2,58 раза, обеспечивалась совместная монолитная работа сечения в целом без его расслоения.
Фактические прогибы всех стеновых панелей при нормативной нагрузке близки теоретическим и существенно меньше предельно допустимых значений, равных 1/200 пролета.
Заключение
Результаты испытаний трехслойных конструкций с наружными слоями из конструкционного бетона и средним слоем из низкотеплопроводного бетона по жесткости и трещиностойкости свидетельствуют об их высоких эксплуатационных качествах. Ни в одной из испытанных конструкций вплоть до разрушения в среднем слое из низкопрочного бетона не образовывались наклонные трещины, не было трещин по контакту слоев и взаимного их смещения. Последнее свидетельствует о надежной монолитной связи слоев панели между собой при принятой технологии изготовления, а отсутствие наклонных трещин - о долговечности разработанных конструкций. Для всех испытанных конструкций образование нормальных трещин происходило при нагрузках, превышающих нормативные, а их раскрытие было существенно меньше допускаемого нормами проектирования. Указанные особенности работы трехслойных железобетонных панелей связаны с использованием в наружных слоях конструкционных бетонов и важны для обеспечения их эксплуатационных качеств.
1. Tho V.D., Korol E.A. Influence of geometrical parameters of the cross section, strength and deformability of the materials used on stressstrain state of three-layered reinforced concrete. // IOP Conference Series: Materials Science and Engineering, 2019, Volume 661, 10 pages.
2. Lam T.V., Vu D.T., Dien V.K., Bulgakov B.I., Korol E.A. Properties and thermal insulation performance of lightweight concrete. // Magazine of Civil Engineering, 2018, Volume 84, Issue 8, pp. 173-191. DOI: https://doi.org/10.18720/MCE.84.17; EDN: https://elibrary.ru/OOFQMW
3. Gara F., Ragni L., Roia D., Dezi L. Experimental tests and numerical modelling of wall sandwich panels. // Eng. Struct, 2012, Volume 37, pp. 193-204.
4. Andreev V.I., Turusov R.A., Tsybin N.Y. Application of the Contact Layer in the Solution of the Problem of Bending the Multilayer Beam. // Procedia Engineering, 2016, Volume 153, pp. 59-65. DOI: https://doi.org/10.1016/j.proeng.2016.08.080; EDN: https://elibrary.ru/YUKHDP
5. Kustikova Y. Model of stressed-strained state of multi-layered reinforced concrete structure with the use of composite reinforcement. // IOP Conference Series: Materials Science and Engineering, 2017, Volume 365, Issue 5, pages 11.
6. Korol E.A., Pugach E.M., Nikolaev A.E. Experimental studies of the adhesion of concretes of various strengths in multilayer reinforced concrete elements // Technologies of concrete. 2006. №4, Pp. 54-55. EDN: https://elibrary.ru/TOGGJP
7. Tho V.D., Kopol E.A. The effect of contact layers on the crack resistance of bent three-layer structures. // Bulletin of the MGSU, 2020, Vol. 15, Pp. 988-998. DOI: https://doi.org/10.22227/1997-0935.2020.7.988-998; EDN: https://elibrary.ru/GCSMRE
8. Korol E.A., Marina Berlinova. Calculation of multilayer enclosing structures with middle layer of polystyrene concrete. // MATEC Web Conf, 2018, Volum 193, pages 7.
9. Korol E.A., Kharkin Y.A. To the question of choosing a software package for modeling the stress-strain state of three-layer reinforced concrete elements and structures with a monolithic bond of layers. // Scientific and technical journal on construction and architecture (The Bulletin), 2010, Volume 3, pp.156-166.




