from 01.01.1987 until now
Penza, Penza, Russian Federation
from 01.01.2000 until now
Penza, Penza, Russian Federation
from 01.01.2019 until now
Penza, Penza, Russian Federation
from 01.01.2019 until now
Penza, Penza, Russian Federation
UDC 62
UDC 69
CSCSTI 67.01
CSCSTI 67.11
Russian Classification of Professions by Education 08.04.01
Russian Library and Bibliographic Classification 38
Russian Library and Bibliographic Classification 308
BISAC ARC024000 Buildings / General
It is known that the stress values and the distribution of the latter in depth depend to a large extent on the size of the Foundation sole and especially the width. In this article, in order to select the optimal width of the Foundation sole and the thickness of the sand cushion, the influence of the sole width on the distribution of vertical stresses in the ground base is studied on the example of foundations for metal pipes. The presence of weak water-saturated clay soils within the construction site was taken into account. Variants of the device from traditional prismatic piles and foundations of small laying on a sandy pillow are offered. a technical and economic comparison of options was carried out. The advantages and disadvantages of each option are analyzed. Using the methodology of verification calculations in the design of sandbags, the optimization of the accepted version of the foundations was made.
the solution to Boussinesq, stress, soil strata, foundation, metal pipe, sand bags, loads, bending moment
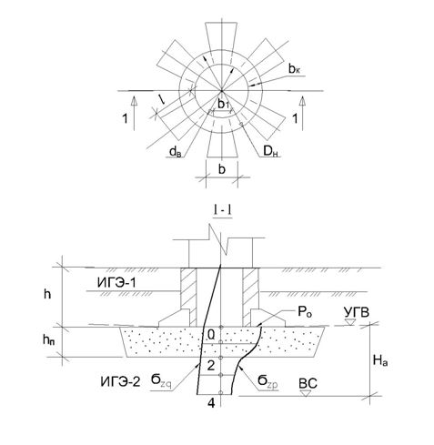
Особенностью проектирования фундаментов под металлические трубы считается необходимость обеспечения надежности фундаментов при действии на последние значительных горизонтальных нагрузок и изгибающих моментов. При устройстве на предприятии «Апатит» в г.Балаково металлической выхлопной трубы высотой 95,0 м и диаметром ствола 6,0 м имели место весьма значительные горизонтальные нагрузки и изгибающие моменты. Усилия, действующие в уровне верхнего обреза фундамента, представлены на схеме (рис.1) и в таблице. Разработка и исследование условий взаимодействия фундаментов со сложным характером нагружения с грунтовым основанием традиционно считается весьма актуальной задачей [1-5].
Научная новизна настоящей работы заключается в создании условий использования решений Буссинеска о распределении напряжений в грунтовой толще. Согласно указанного решения значения напряжений и распределение последних по глубине в значительной мере зависят от размеров подошвы фундамента и особенно ширины. Используя данное положение авторы исследуют влияние ширины подошвы на характер распределения вертикальных напряжений в грунтовом основании с целью выбора оптимальной ширины подошвы фундамента и толщины песчаной подушки.
Рис.1. Схема нагрузок в уровне верха фундамента
Таблица
|
Вид нагрузки |
Нормативные |
Расчетные |
|
N, кН |
5400,0 |
5900,0 |
|
М, кНм |
16000,0 |
19000,0 |
|
Q, кН |
500,0 |
620,0 |
При выборе варианта фундаментов учитывалось наличие в пределах площадки строительства довольно слабых водонасыщенных глинистых грунтов со следующими основными характеристиками.
С поверхности залегает слой почвенно-растительного и техногенного грунта толщиной до 1,5 м, который не может быть использован в качестве основания фундаментов. Указанный слой подстилается относительно-однородным суглинком мощностью до 15,0 м.
Показатель текучести суглинков изменяется в диапазоне IL =0,4÷0,55, Объемная масса грунта γII =17,5 кH/м3, угол внутреннего трения φ = 140, удельное сцепление с=15,0 кПа, модуль деформации Е=6,0 МПа.
При выборе варианта фундаментов исходили из результатов изучения мирового опыта по данному вопросу. В результате авторы полагают, что наиболее приемлемым в данных грунтовых условиях, с учетом характера и диапазона нагрузок, можно считать вариант из традиционных призматических свай. Однако, площадка строительства располагается внутри действующего предприятия и погружение свай забивкой недопустимо. Применение технологии вдавливания нерационально из-за малого количества свай, порядка 60 шт. При таком объеме свайного поля перебазировка свае-вдавливающей установки в г. Балаково весьма затратно в целом. Сметная стоимость такого варианта оценивалась в 6500,0 тыс. руб.
Авторами предложен вариант фундаментов мелкого заложения на песчаной подушке. Технология устройства указанного фундамента не требует специального оборудования, кроме землеройной стандартной строительной техники.
При проектировании песчаных подушек следует обращать внимание на методологию поверочных расчетов. Главная задача заключается в определении толщины подушки. Толщина назначается из следующих соображений:
-толщина подушки должна быть не менее половины ширины подошвы фундамента;
-должно выполняться условие проверки подстилающего слоя;
-расчетная осадка не должна превышать предельных деформаций основания фундамента.
С целью уменьшения толщины подушки, исходя из первого условия, фундамент выполнен из кольцевой и лепестковых частей. Наружный диаметр кольца dн = 12,0 м, а внутренний dв = 6,0 м. Следовательно ширина подошвы кольца 3,0 м.
Лепестковые части фундаменты также имеют ширину bл = 3,0 м. Поэтому минимально допустимая толщина подушки по первому условию hп ≥ 1,5 м (рис. 2).
В настоящем случае оптимизируя принятый вариант фундаментов исходили из удовлетворения условия проверки подстилающего слоя при hп = ½b, где b - наименьшая ширина сечения кольца bк или лепестка bл. Указанное достигнуто путем подбора суммарной площади подошвы круглой части фундамента и лепестковой (рис. 2). В результате расчетов лепестки приняты длиной l=5,0 м и шириной b=3,0 м с общей площадью подошвы Ал.с.= 90,0 м2. Ширина кольцевой части фундамента bк = 3,0 м. Площадь центральной кольцевой подошвы составляет порядка Ац= 90,0 м2. Общая площадь опирания фундаментов на песчаную подушку А=180,0 м2. С учетом глубины заложения подошвы h = 2,5 м общий вес фундамента и грунта на обрезах Qф.гр.= 6250 кН. С учетом нагрузок от трубы и веса фундамента среднее давление под подошвой составляет около 100,0 кПа.
Рис. 2. Расчетная схема осадки фундамента
Особенностью рассматриваемого сооружения является передача на фундамент значительного изгибающего момента. Суммарный изгибающий момент относительно оси симметрии площади подошвы составляет Мo = 17000,0 кНм. В соответствии со схемой нагрузок (рис.1) по известной формуле определены краевые давления на грунтовое основание, которые составили Рmax=208,5 кПа; Pmin=6,1 кПа.
С учетом указанных расчетов запроектирован фундамент со следующими объёмами. Расход бетона 155,0 м3. Объем земляных работ1720,0 м3 и песка 830,0 м3. Общая сметная стоимость устройства фундамента 3900,0 т.р., что в 1,65 раза меньше, чем варианта фундаментов по проекту с применением буровых свай.
Устройство фундаментов и монтаж трубы завершены в марте 2018 г. Геодезические наблюдения за объектом позволяют сделать вывод о надежности принятого варианта фундаментов.
1. Abelev M.Yu., Bahronov R.R., Koz'modem'yanskiy V.G. Novoe v ustroystve iskusstvennyh uplotnennyh osnovaniy zdaniy i sooruzheniy na slabyh gruntah. Promyshlennoe i grazhdanskoe stroitel'stvo. 2015. № 9. S.76-81.
2. Arhipov D. N., Evtushenko S. I. Izuchenie raspredeleniya vertikal'nyh napryazheniy i deformaciy v osnovanii sbornogo lentochnogo fundamenta iz balochnyh elementov // Stroitel'stvo i arhitektura. 2014. №. 1. S. 17-20. DOI: https://doi.org/10.12737/3384 (data obrascheniya: 30.01.2020).
3. Ezhi Senkovski. Proektirovanie ukreplyayuschih graviyno-peschanyh podushek. Izvestiya vysshih uchebnyh zavedeniy. Stroitel'stvo. 2004. № 5 (545). S. 127-130.
4. Babeshko E.S., Zaharova M.S. Obzor metodov ustroystva iskusstvennyh osnovaniy // Geologiya v razvivayuschemsya mire: sbornik nauchnyh trudov (po materialam X Mezhdunarodnoy nauchno-prakticheskoy konferencii studentov, aspirantov i molodyh uchenyh). V 2-h tomah. Otvetstvennyy redaktor R.R. Gil'mutdinov. 2017. S. 77-79.
5. Eschenko O.Yu., Volik D.V. Osnovanie cilindricheskogo rezervuara. Patent na izobretenie RUS 2437988 18.05.2010.



