Rostov-on-Don, Rostov-on-Don, Russian Federation
Rostov-na-Donu, Rostov-on-Don, Russian Federation
Rostov-na-Donu, Ukraine
from 01.01.2017 until now
stanica Leningradskaya, Krasnodar, Russian Federation
Bataysk, Rostov-on-Don, Russian Federation
Rostov-na-Donu, Rostov-on-Don, Russian Federation
CSCSTI 67.09
CSCSTI 67.11
CSCSTI 67.15
CSCSTI 67.01
Russian Classification of Professions by Education 08.04.01
Russian Classification of Professions by Education 08.06.01
Russian Classification of Professions by Education 08.03.01
Russian Classification of Professions by Education 08.02.03
Russian Library and Bibliographic Classification 38
Russian Library and Bibliographic Classification 383
Russian Library and Bibliographic Classification 385
Russian Library and Bibliographic Classification 308
Russian Trade and Bibliographic Classification 54
Russian Trade and Bibliographic Classification 5414
Russian Trade and Bibliographic Classification 5415
Russian Trade and Bibliographic Classification 5442
Optimizaciyu parametrov processa uplotneniya betonnoy smesi na laboratornoy ustanovke-centrifuge provodili s primeneniem metoda matematicheskogo planirovaniya eksperimenta (PFE 2k). Po rezul'tatam issledovaniya metodom naimen'shih kvadratov avtorami byli polucheny bazovye uravneniya regressii, predstavlennye v vide polinomov 2-oy stepeni. Rassmotreno vliyanie vremeni uplotneniya i kolichestva oborotov vrascheniya na srednyuyu plotnost' tyazhelogo betona i tolschinu stenok izdeliy. Ustanovleny optimal'nye parametry dlya centrifugirovaniya kol'cevyh izdeliy iz tyazhelogo betona. Naibolee effektivnym parametrom regulirovaniya sredney plotnosti i tolschiny stenki centrifugirovannogo izdeliya yavlyalos' kolichestvo oborotov vrascheniya. Rost sredney plotnosti polozhitel'no vliyal na vse fiziko-mehanicheskie svoystva tyazhelogo centrifugirovannogo betona.
centrifugirovannye betonnye obrazcy kol'cevogo secheniya, centrifugirovannyy beton, centrifugirovannaya kolonna, metod matematicheskogo planirovaniya eksperimenta, funkciya otklika, srednyaya plotnost', tolschina stenok izdeliya
Введение. Центрифугированные колонны изготавливают обычно из пластичных бетонных смесей с подвижностью П1 и осадкой конуса 2-3 см. В процессе изготовления по причине воздействия на частицы бетонной смеси центробежных сил происходит отжим избыточной воды [1-4], которая вытекает из формы в виде шлама, и свежеотформованный бетон обладает достаточной прочностью для транспортировки форм с изделиями к пропарочным камерам.
Для создания вращательного движения применяются центрифуги с приводом от электродвигателей постоянного тока с регулируемыми скоростями. Данное оборудование обеспечивает два режима работы: 1 – распределение бетонной смеси и 2 – ее уплотнение [5].
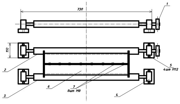
Для настоящих исследований была разработана и применена опытно-лабораторная установка-центрифуга ЦСРЛ-1 с электродвигателем постоянного тока с тиристорными блоками питания. Это обеспечивало плавное переключение скорости путем изменения частоты вращения вала электродвигателя. Принципиальная схема экспериментальной центрифуги ЦСРЛ-1 с формой приведена на рисунке 1.

Рисунок 1 – Схема экспериментальной лабораторной центрифуги ЦСРЛ-1 с формой:
1 – шкив привода центрифуги; 2 – ведущий опорный каток; 3 – ведомый опорный каток; 4 – упор вала опорной муфты с шарикоподшипником; 5 – крепеж упора к станине (болт М12); 6 – форма; 7 – соединение половинок формы (болт М8)
Основная часть. Оптимизацию параметров процесса уплотнения на лабораторной установке-центрифуге проводили с применением метода математического планирования эксперимента (ПФЭ 2к). Время распределения и уплотнения бетонной смеси методом центрифугирования принято исходя из рекомендаций B40 [ ].
За базовый принят состав тяжелого бетона класса B40 [ ], представленный в таблице 1.
Таблица 1 – Расход компонентов базового состава тяжелого бетона класса В40 П2

Значения факторов варьирования и их физический смысл представлены в таблице 2.
За функцию отклика были приняты следующие параметры:
- Y1 (X1, X2) – средняя плотность образца центрифугированного изделия – 2428 кг/м3;
- Y2 (X1, X2) – толщина образца центрифугированного изделия – не менее 15 мм.
Таблица 2 – Значение факторов варьирования ПФЭ 2к
|
№ п/п |
Код фактора |
Физический смысл фактора |
Ед. измерения |
Интервал варьирования |
Уровни фактора |
||
|
-1 |
0 |
+1 |
|||||
|
1 |
X1 |
время уплотнения |
мин |
±1,5 |
5,0 |
3,5 |
2,0 |
|
2 |
X2 |
количество оборотов |
об. |
±200 |
800 |
1000 |
1200 |
Среднюю плотность тяжелого бетона и толщину стенок изделия контролировали в возрасте 28 суток.
План эксперимента и результаты параметров оптимизации приведены в таблице 3.
Таблица 3 – План эксперимента и результаты параметров оптимизации
|
№ |
Кодирование переменных |
Натуральные значения |
Значения параметров оптимизации |
||||
|
Х1 |
Х2 |
Х1 |
Х2 |
δ, мм |
ρ, кг/м3 |
||
|
1 |
-1 |
-1 |
5,0 |
800 |
20 |
2575 |
|
|
2 |
-1 |
0 |
5,0 |
1000 |
15 |
2630 |
|
|
3 |
-1 |
+1 |
5,0 |
1200 |
17 |
2600 |
|
|
4 |
0 |
-1 |
3,5 |
800 |
22 |
2560 |
|
|
5 |
0 |
0 |
3,5 |
1000 |
19 |
2620 |
|
|
6 |
0 |
+1 |
3,5 |
1200 |
17 |
2595 |
|
|
7 |
+1 |
-1 |
2,0 |
800 |
26 |
2470 |
|
|
8 |
+1 |
0 |
2,0 |
1000 |
21 |
2500 |
|
|
9 |
+1 |
+1 |
2,0 |
1200 |
23 |
2480 |
|
По результатам исследования методом наименьших квадратов были получены базовые уравнения регрессии, представленные в виде полиномов 2-й степени:
Cтатистический анализ полученных уравнений регрессии оценивали по трем критериям: однородности дисперсий, значимости коэффициентов и адекватности, которая проверялась с помощью критерия Фишера.
По результатам экспериментов определяли: критерий Фишера (F); дисперсию (D20 ); среднеквадратическое отклонение (So) и среднеквадратическую ошибку в определении коэффициентов ( ), которые приведены в таблице 4.
Таблица 4 – Статистические критерии оптимизации
|
Наименование выходного параметра уравнения |
Статистические критерии |
|||
|
|
|
|
|
|
|
Средняя плотность центрифугированного изделия, кг/м3 |
4,475 |
75,97 |
8,72 |
15,11 |
|
Толщина стенки центрифугированного изделия |
4,25 |
1,841 |
1,357 |
2,353 |
По расчетному значению t – критерия Стьюдента устанавливали значимость коэффициентов уравнений. Значения полученных коэффициентов сведены в таблицу 5.
Таблица 5 – Расчетные коэффициенты уравнений регрессии
|
Наименование выходного параметра уравнения |
Значения коэффициентов уравнений |
|||||
|
B0 |
B1 |
B2 |
B3 |
B4 |
B5 |
|
|
Средняя плотность центрифугированного изделия, кг/м3 |
2616 |
-59,62 |
13,72 |
-47,99 |
-38,96 |
4,3 |
|
Толщина стенки центрифугированного изделия |
17,59 |
2,80 |
-1,57 |
1,58 |
2,477 |
-0,488 |
Статистическая обработка данных выполнялась с помощью программы «Mathcad», что позволило получить уравнения регрессии в виде полиномов второй степени:

Графическая интерпретация математических зависимостей представлена на рисунках 2 и 3.

Как видно из уравнения (2) отрицательную роль в уплотнении центрифугированного изделия играет время уплотнения (-59,62·X1), изменение которого в сторону увеличения не приводит к существенному изменению плотности. Вместе с тем, положительное влияние на показатель плотности оказывает повышение оборотов вращения центрифуги (13,72·X2), что приводит к увеличению центробежного усилия.
Выводы. По результатам проведенного эксперимента были установлены оптимальные параметры для центрифугирования кольцевых изделий из тяжелого бетона:
- время уплотнения примерно τ=3,5 мин;
- количество оборотов вращения n=1000 об/мин.
Отметим при этом, что наиболее эффективным параметром регулирования средней плотности и соответственно толщины стенки центрифугированного изделия являлось количество оборотов вращения.
Кроме того, рост средней плотности положительно влиял на все физико-механические свойства тяжелого центрифугированного бетона.
1. Ahverdov I.N. Voprosy teorii centrobezhnogo formovaniya i uplotneniya betonnoy smesi. - Respublikanskoe nauchno - tehnicheskoe soveschanie: Tehnologiya formovaniya zhelezobetonnyh izdeliy, 1979. P. 3-12.
2. Popov A.N. Proizvodstvo i primenenie zhelezobetonnyh i betonnyh trub dlya napornyh i beznapornyh truboprovodov. - M., 1975. P. 149.
3. Shtaerman Yu.Ya. Centrifugirovannyy beton. - Tiflis, 1933. 107 p.
4. Rukovodstvo po proektirovaniyu, izgotovleniyu i primeneniyu zhelezobetonnyh centrifugirovannyh konstrukciy kol'cevogo secheniya (NIIZhB). - M., 1979. P. 47-50, 64-71.
5. Pastushkov G.P. Mnogoetazhnye karkasnye zdaniya s nesuschimi zhelezobetonnymi centrifugirovannymi elementami : dis…. dokt. tehn. nauk. Minsk, 1994. 487 p.
6. Romanenko E.Yu. Vysokoprochnye betony s mineral'nymi poristymi i voloknistymi dobavkami dlya izgotovleniya dlinnomernyh centrifugirovannyh konstrukciy : dis.... kand. tehn. nauk. Rostov-na-Donu, 1989. 179 p.
7. Petrov V.P. Tehnologiya i svoystva centrifugirovannogo betona s kombinirovannym zapolnitelem dlya stoek opor kontaktnoy seti : dis.… kand. tehn. nauk. Rostov-na-Donu, 1983. 175 p.
8. Radzhan Suval Svoystva centrifugirovannogo betona i sovershenstvovanie proektirovaniya centrifugirovannyh zhelezobetonnyh stoek opor LEP : dis…. kand. tehn. nauk. Rostov-na-Donu, 1997. 267 p.
9. Mailyan L.R., Stel'makh S.A., Kholodnyak M.G., Shcherban' E.M., Khalyushev A.K. Influence of production technology on the structure formation and properties of concrete vibrocentrifuged columns // Construction and Architecture (2017) Vol. 5. Issue 4 (17): 224-228. DOIhttps://doi.org/10.12737/article_
10. Kholodnyak M.G., Stel'makh S.A., Mailyan L.R., Shcherban' E.M., Nazhuev M.P. Study of the nature of the mechanism of the drift of components of a concrete mixture during the production of centrifuged columns of a variational structure by the example of a physical model of aggregate motion // Construction and Architecture (2017) Vol. 5. Issue 4 (17): 229-233. DOIhttps://doi.org/10.12737/article_596f6d7da0eb38.03494133
11. Nazhuev M.P., Yanovskaya A.V., Holodnyak M.G., Halyushev A.K., Scherban' E.M., Stel'mah S.A. Izuchenie opyta regulirovaniya svoystv stroitel'nyh izdeliy i konstrukciy putem napravlennogo formirovaniya ih variatropnoy struktury // Inženernyj vestnik Dona (Rus), 2017, № 3 URL: ivdon.ru/ru/magazine/archive/N3y2017/4313.
12. 6. Mailyan L.R., Stel’makh S.A., Kholodnyak M.G., Shcherban’ E.M. Choice of fiber types for disperse reinforcement of products from centrifuged concrete // Scientific open access journal «Naukovedenie» Vol. 9, № 4 (2017) http://naukovedenie.ru/PDF/71TVN417.pdf.
13. Stel'makh S.A., Shcherban' E.M., Serdyukov K.V., Pestrikov M.M., Yanovskaya A.V. Influence of some characteristics of the applied coarse aggregate on the properties of heavy concrete, designed for manufacturing centrifuggle products and constructions // Bulletin of BSTU named after V.G. Shukhov, 2017, № 10. P. 15-20.
14. Mailyan L.R., Stel'makh S.A., Kholodnyak M.G., Shcherban' E.M. Selection of the composition of centrifuged concrete on heavy fillers // Bulletin of BSTU named after V.G. Shukhov, 2017, № 10. P. 52-57.
15. Mailyan L.R., Stel'mah S.A., Holodnyak M.G., Scherban' E.M. Issledovanie razlichnyh tipov centrifug i rezhimov uplotneniya betonnyh smesey dlya izgotovleniya obrazcov kol'cevogo secheniya // Vestnik SevKavGTI, 2017, Vyp. №3 (30). P. 134-137.



