Bataysk, Rostov-on-Don, Russian Federation
Rostov-na-Donu, Rostov-on-Don, Russian Federation
Rostov-on-Don, Rostov-on-Don, Russian Federation
from 01.01.2017 until now
stanica Leningradskaya, Krasnodar, Russian Federation
Rostov-na-Donu, Rostov-on-Don, Russian Federation
CSCSTI 67.09
CSCSTI 67.01
Russian Classification of Professions by Education 08.04.01
Russian Library and Bibliographic Classification 383
Russian Library and Bibliographic Classification 308
Russian Trade and Bibliographic Classification 5415
Stat'ya posvyaschena voprosu mehanizma dreyfa zapolniteley pri separacii sostavlyayuschih betonnoy smesi. Betonnaya smes' rassmatrivaetsya kak tyazhelaya zhidkost'. Pri etom zerna zapolnitelya nahodyatsya kak by vzveshennymi v cementnom teste. Pri peremeshivanii betonnoy smesi voznikaet effekt gidrodinamicheskogo davleniya testa na zerna zapolnitelya, chto ob'yasnyaet vozniknovenie yavleniya separacii sostavlyayuschih betonnoy smesi v vyazkoy izotropnoy srede cementnogo testa. Vyyavleno, chto sila tyazhesti, deystvuyuschaya na chasticu zapolnitelya, stremitsya k minimal'nomu znacheniyu po sravneniyu s centrobezhnoy siloy inercii i pri dvizhenii chasticy zapolnitelya ne soudaryayutsya drug s drugom. Takzhe vyyavleno, chto na zapolnitel' deystvuet tri sily: centrobezhnaya sila inercii , napravlennaya vdol' radiusa ot osi vrascheniya; sila vyazkogo treniya, napravlennaya protiv vektora skorosti dvizheniya chastic zapolnitelya v cementnom teste; vytalkivayuschaya sila, kotoraya analogichna deystviyu sily vyazkogo treniya i arhimedovoy sily.
Konstrukcii i izdeliya kol'cevogo secheniya, centrifugirovannyy beton, centrifugirovannaya kolonna, uglovaya skorost' v period raspredeleniya betonnoy smesi, gidrodinamicheskoe davlenie, dreyf komponentov betonnoy smesi, variatropnaya struktura
Введение. Центрифугированные колонны изготавливают из пластичных бетонных смесей, обладающих маркой по подвижности П1 с осадкой конуса 2-3 см. В процессе изготовления по причине действия на частицы бетонной смеси центробежных сил происходит отжим избыточной воды [1-4], которая вытекает из формы в виде шлама, и свежеотформованный бетон обладает достаточной прочностью для транспортировки форм с изделиями к пропарочным камерам.
Для создания вращательного движения применяются центрифуги с приводом от электродвигателей постоянного тока с регулируемыми скоростями. Данное оборудование обеспечивает два режима работы: 1 – распределение бетонной смеси и 2 – ее уплотнение [5].
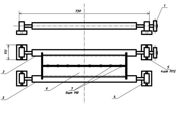
Авторы для своих исследований разработали и применили опытно-лабораторную установку-центрифугу ЦСРЛ-1, оборудованную электродвигателем постоянного тока с тиристорными блоками питания. Это обеспечивает плавное переключение скорости путем изменения частоты вращения вала электродвигателя. Принципиальная схема экспериментальной лабораторной центрифуги ЦСРЛ-1 с формой приведена на рис. 1.

Рис. 1 – Схема экспериментальной лабораторной центрифуги ЦСРЛ-1 с формой:
1 – шкив привода центрифуги; 2 – ведущий опорный каток; 3 – ведомый опорный каток; 4 – упор вала опорной муфты с шарикоподшипником; 5 – крепеж упора к станине (болт М12); 6 – форма; 7 – соединение половинок формы (болт М8).
Основная часть. При изготовлении изделий методом центрифугирования на частицу бетонной смеси действует центробежная сила инерции и сила тяжести (рисунок 2).
Развивающиеся при центрифугировании усилия придают частицам смеси ускорения, пропорциональные массе частиц, квадрату угловой скорости и расстоянию от оси вращения.
Изучая схему приложения усилий к единичной массе при центрифугировании можно сделать следующий вывод: чтобы частицы смеси, поднятые при вращении формы в самое верхнее положение, не отрывались от ее стенок и не падали, необходимо, чтобы сила тяжести частицы
где m – масса частицы бетонной смеси, кг;
ω – угловая скорость частицы,
δ – радиус вращения центра тяжести частицы, м;
Ҁ – вес частицы, Н;
g – ускорение силы тяжести,

Рис. 2 – Элемент сечения стенки колонны
Усилие, действующее на частицу бетонной смеси, определяют как сумму сил
При
= 0, т.е. когда частица будет находиться в верхнем положении,
.
|
|
|

Рис. 3 - Схема к расчету усилия, действующего на частицу бетонной смеси
При
= 180°,
Среднее усилие, действующее на частицу, составит, Н:
Вследствие неравномерного распределения усилия бетонная смесь с нижних точек окружности с усилием
перемещается в верхние точки окружности с усилием
, что обеспечивает растяжение бетона по окружности.
Определим критическую угловую скорость формы, необходимую для удержания частицы бетонной смеси в верхнем положении, рад/с.
или
где
– внутренний диаметр кольцевого элемента, м.
Угловая скорость в период распределения бетонной смеси должна быть минимально необходимой с тем, чтобы предупредить расслоение бетона на составляющие его части вследствие разной величины масс частиц. С учетом свойств бетонной смеси минимально необходимая величина угловой скорости должна быть больше критической в k раз:
или
В период уплотнения бетонной смеси угловая скорость формы определяется исходя из следующего. Выделяют в массе бетонной смеси элементарное кольцо dr, с радиусом
и длиной l = 1. Тогда величина центробежных сил приложенных к кольцу, будет равна, Н:
где dm – масса элементарного кольца, кг;
ω – угловая скорость кольца, рад/с;
l – длина кольца,
g – ускорение силы тяжести,
Отсюда следует следующее выражение:
где R – наружный радиус кольцевого элемента, м;
δ – внутренний радиус кольцевого элемента, м.
Величина удельной центробежной силы на наружной поверхности формуемой колонны, МПа:
Угловая скорость, необходимая в период уплотнения бетонной смеси,
или
Для проверки физической модели движения компонентов бетонной смеси при центрифугировании на лабораторной центрифуге был изготовлен образец кольцевого сечения (рисунок 4б) с базовыми размерами 300х160 мм при толщине стенки 50 мм. Далее образец нарезался алмазным диском на кольца диаметром 160 мм при высоте 50 мм и шлифовался с торцов.
Как видно из рисунка 4а, при уплотнении методом центрифугирования частицы плотнее цементного теста перемещаются к внешней поверхности кольца, менее плотные – к внутренней. Скорость сепарации частиц происходит тем быстрее, чем плотнее и крупнее заполнитель и больше скорость вращения формы. Фактически крупный плотный заполнитель достигает внешней поверхности кольца за 2-3 полных оборота формы (1-1,5 c), т.е. еще при распределении, мелкий же занимает это положение только через 200-205 с.
Именно этой разницей скоростей дрейфа частиц различного размера обуславливается специфическое (вариатропное) строение свежеотформованного центрифугированного бетона, у которого внешний слой образован, в основном, крупным заполнителем с прослойкой цементного теста, а с приближением к внутренней поверхности постепенно возрастает содержание мелких частиц плотного заполнителя и цементного теста.
Согласно полученным данным, для формирования структуры центробежно уплотняемого бетона достаточно 3-3,5 мин, в остальное же время центрифугирования обеспечивается отжатие избыточного количества воды затворения, которое определяется такими технологическими параметрами как подвижность бетонной смеси, поперечные размеры изделия, максимальная скорость вращения центрифуги и др.
По литературным данным установлено, что требуемое качество уплотнения бетонной смеси достигается при давлении

Вывод. Авторами проведено исследование явления гидродинамического давления теста на частицы, составляющие бетонную смесь, используя некоторые расчетные формулы и положения. При этом выявлены следующие аспекты:
- сила тяжести, действующая на частицу заполнителя, стремится к минимальному значению по сравнению с центробежной силой инерции;
- при движении частицы заполнителя не соударяются друг о друга.
Исходя из этих аспектов, можно сделать вывод, что на заполнитель действует три силы: центробежная сила инерции Рn, направленная вдоль радиуса от оси вращения; сила вязкого трения Рm, направленная против вектора скорости движения частиц заполнителя в цементном тесте; выталкивающая сила Рв, которая аналогична действию силы вязкого трения и архимедовой силы.
Центробежное формование пригодно для уплотнения пластичных смесей с невысокой вязкостью, но при этом оно вызывает расслоение бетонной смеси. Чтобы уменьшить его, необходимо повышать вязкость системы и ограничивать верхний предел крупности заполнителей в смеси.
1. Popov A.N. Proizvodstvo i primenenie zhelezobetonnyh i betonnyh trub dlya napornyh i beznapornyh truboprovodov. - M., 1975. P. 149.
2. Shtaerman Yu.Ya. Centrifugirovannyy beton. - Tiflis, 1933. 107 p.
3. Ahverdov I.N. Osnovy fiziki betona. - M., 1981. P. 383-392.
4. Ahverdov I.N. Voprosy teorii centrobezhnogo formovaniya i uplotneniya betonnoy smesi. - Respublikanskoe nauchno - tehnicheskoe soveschanie: Tehnologiya formovaniya zhelezobetonnyh izdeliy, 1979. P. 3-12.
5. Rukovodstvo po proektirovaniyu, izgotovleniyu i primeneniyu zhelezobetonnyh centrifugirovannyh konstrukciy kol'cevogo secheniya (NIIZhB). - M., 1979. P. 47-50, 64-71.
6. Romanenko E.Yu. Vysokoprochnye betony s mineral'nymi poristymi i voloknistymi dobavkami dlya izgotovleniya dlinnomernyh centrifugirovannyh konstrukciy : dis.... kand. tehn. nauk. Rostov-on-Don, 1989. 179 p.
7. Petrov V.P. Tehnologiya i svoystva centrifugirovannogo betona s kombinirovannym zapolnitelem dlya stoek opor kontaktnoy seti : dis.… kand. tehn. nauk. Rostov-on-Don, 1983. 175 p.



